小米申请首款车摩德纳、MODENA等商标

车家后花园    来源:车家后花园 2025-03-30 16:58

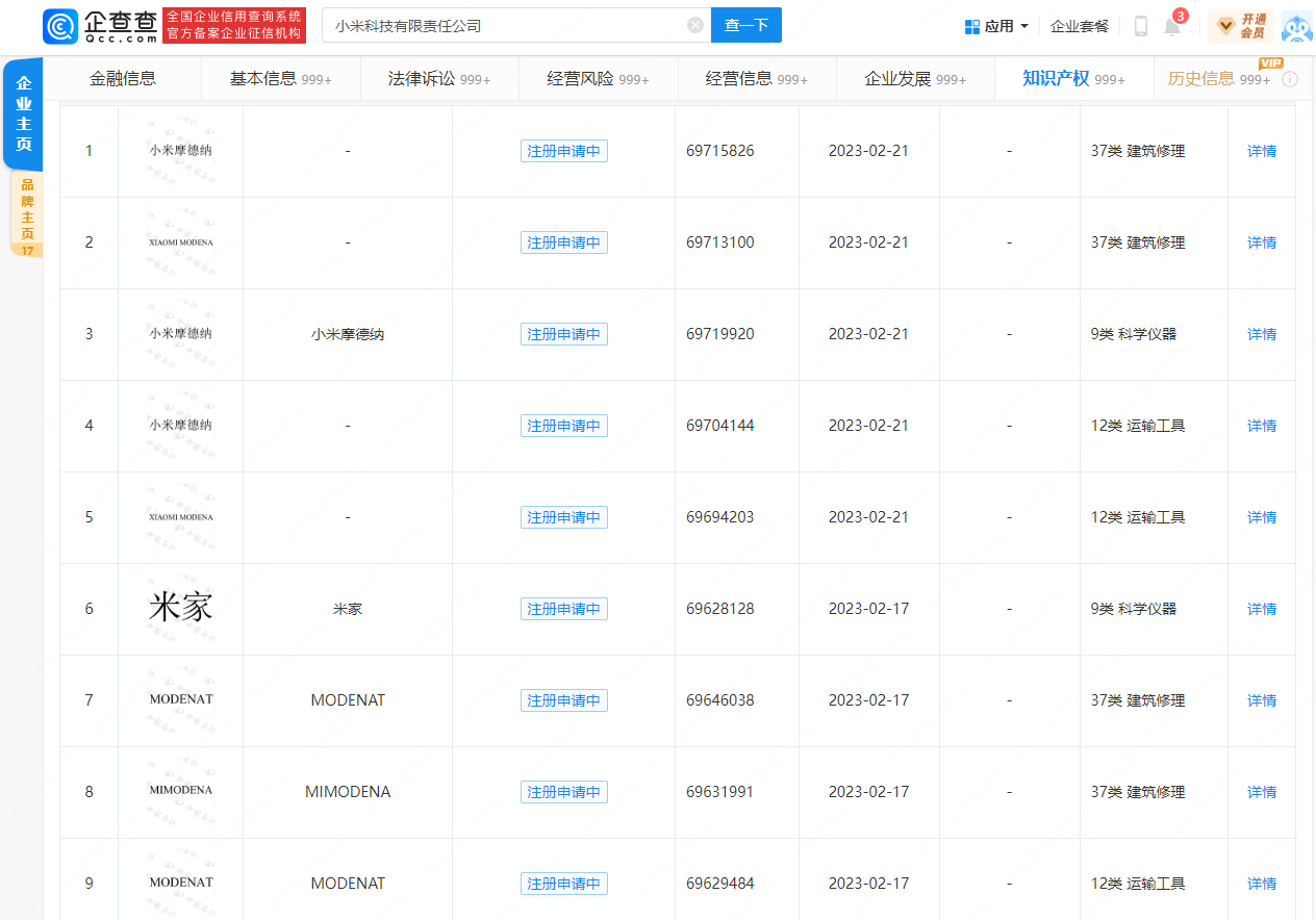
2月27日消息,据企查查显示,小米科技有限责任公司近日申请注册多枚“小米摩德纳”“MODENAT”“XIAOMI MODENA”“MIMODENA”图形及文字商标,国际分类含运输工具、科学仪器、建筑修理,当前商标状态为申请中。 

图片来源:企查查

根据小米官方此前公布的信息,其首款汽车预计于 2024 年上半年正式量产。

今年1月初,有媒体报道,小米第一款车为中型溜背式轿车,内部代号Modena摩德纳,价格分为两个版本;第二款车正在研发中,内部代号Lemans,计划2025年推出。

随后在1月底,小米首款车MS11的设计图被泄露,外观与上述爆料车型一致。

目前,小米汽车研发团队已超2300人;汽车制造方面,小米在北京亦庄自建了汽车基地,计划分两期建设年产量30万辆的整车工厂,一期和二期产能分别为15万辆。

随着小米申请首款车的商标,不出意外,或许今年年底小米汽车将上市。

下一篇: 揭露特斯拉触摸屏幕导致安全隐患的根本原因
上一篇: 艾康尼克与BIG WORLD和OBON携手拓展东南亚市场
相关文章
返回顶部小火箭